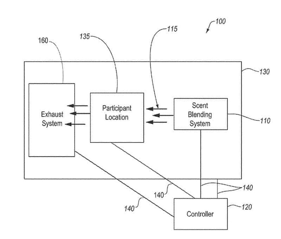
Disney has patented a system to deliver an immersive scent score in theme parks. This "Smell-O-Vision" inspired innovation combines multiple scent distributors to deliver smells in time to visual entertainment.
Disney hopes that the use of scent will be able to trigger memories and create powerful emotional responses, saying that smell "is arguably the most powerful human sense".Key to the patent is the ability to vary the quantity of scent released in time with the presentation of objects visually, and blending and extracting the scents from the vicinity of the guest.
As with other patents it is unclear what the applications of this technology will be in practice.
Scent technology
The use of smell to create immersive entertainment is not new but has struggled to be deployed successfully.In the 1960s, Smell-O-Vision released odours during the projection of a film, but the technique failed to take off. It was only used in the film Scent of Mystery, with 30 smells incorporated into the screening.
However, Disney isn't alone in exploring scent technology. Pium is a Universal Accelerator company that has created a platform which offers users their own scent schedule through the day: “the right scent at the right time”. The company has completed a pilot programme with Loews Hotels at Universal Studios, and is now in production.







