Disney has filed a patent application for a robotic arm to transfer ride vehicles in theme parks from a support structure on one path to another.
The patent application is titled 'Systems and methods for transferring a passenger compartment between ride systems using robotic tool changers'.
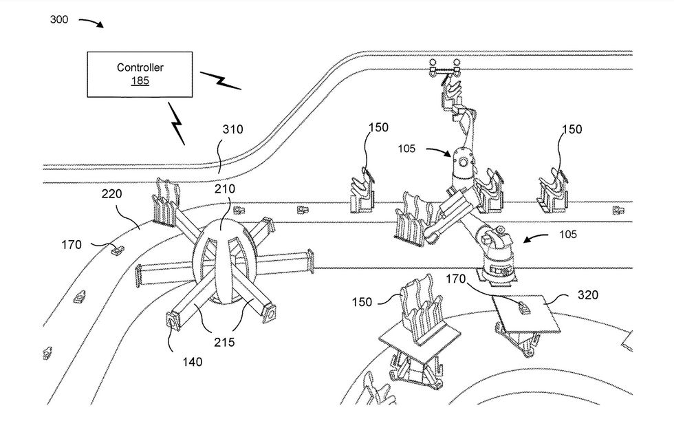
It explains that a typical ride system includes a ride vehicle that "transports passengers through a ride experience".
However, the new system features a robotic arm that could transport the "passenger compartment", or ride vehicle, from "the first support structure to a second support structure".
In short, the robot arm would connect to a passenger compartment and move it from its current ride track to a different track before disconnecting from the ride vehicle.
The patent application reads: "In some implementations, a controller may cause a robotic arm connector, of the robotic arm, to be connected to a first compartment connector of a passenger compartment of an amusement ride. The controller may cause a second compartment connector, of the passenger compartment, to be disconnected from a first structure connector of a first support structure.
"The controller may transport the passenger compartment from the first support structure to a second support structure after causing the second compartment connector to be disconnected from the first structure connector."
Disney's flying robots
Disney is also looking into how to take “untethered” robots into the sky with “hybrid air and water power”, according to another patent.
“In-flight movements and stable or controlled landings for a flying robot have recently come into demand to provide unique and surprising entertainment to audiences in settings where it may be difficult to utilize live performers,” the patent says.
Last month, Disney announced plans to spend $60 billion on its parks, experiences and products division over the next 10 years to turbocharge growth.
Images courtesy of Disney

























