Four patents filed by Universal City Studios LLC point towards new systems and methods for integrating VR and AR into rides and experiences and the resort.
The four patents, identified by Boardwalk Times, point towards the use of Augmented Reality (AR), Virtual Reality (VR) and Mixed-Reality across the park.Augmented Reality (AR) overlays the real world with the digital world, rather than replacing it in the way VR does. Recent developments may speed up progress in the industry and enhance AR’s status as a tech trend.
Layered virtual features
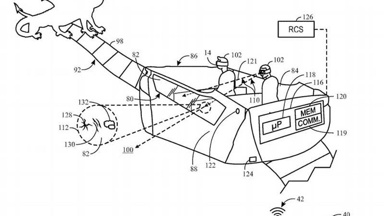
The first patent says a "wearable visualization device" can be used in isolation, or in combination with features of a physical set. This gives the device the flexibility to create an "AR experience, a VR experience, a mixed reality experience, a computer-mediated reality experience, a combination thereof, or other similar surreal environment for the user."
The patent also points towards the fact the device (a pair of Goggles) may be worn throughout the entirety of an experience, or intermittently. For example, says the patent: "during a ride to a hotel associated with the amusement park."
Interestingly, the patent also references data that could be collected from the wearable device. It could detect what users have seen or not seen, and adjust accordingly. The patent gives the example of targeted advertising, or providing Easter Eggs.
Gameplay Ride Vehicles
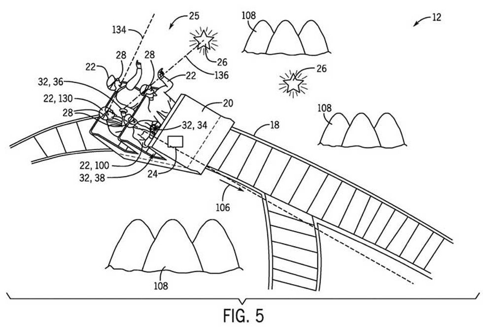
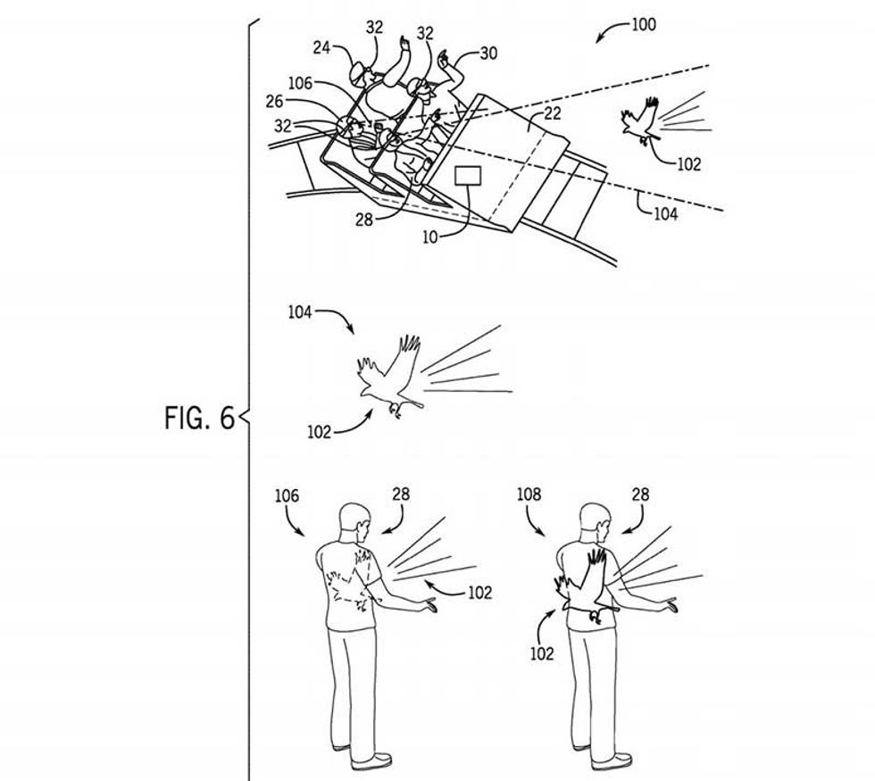
This patent devices a method wherebyguests can split control of the vehicle: each operating different aspects or cooperating to complete tasks.Augmented reality could simulate projectiles and objects in the environment. As Boardwalk Times points out, this overlaps with the recent tunnel ride patent that pointed towards a Mario Kart ride - as players could throw virtual shells and bananas at their opponents.
Augmented ride system
This patents points towards experiences that are enhanced by AR. This includes the use of Augmented Reality to enhance physical sets, or gamify rides with interactive elements. The AR can display information to users that is tailored to their own experience (for example their score in a game) or personal information (such as payment information). The patent also points towards a way for users to communicate with one another during the ride.
Mixed reality viewer
The final patent filed by Universal points towards an interesting new miniature attraction that could be implemented around its parks. The patent depicts a viewfinder telescope, but describes the AR technology that could be implemented to overlay the views with virtual additions.
Boardwalk Times suggests it could be used to add virtual characters into the parks - for example Ninentdo Mii characters walking around the upcoming Nintendo World.
This isn't the first time Universal has filed patents pointing towards the use of AR technology on its rides. However, as journalist Brady MacDonald points out, many patents never go beyond the patent office.
Universal Orlando Resort Patents Showcase Augmented Reality | by Zach Perilstein | Boardwalk Times




























