Medici XD, the Nashville-based experience development company founded by Chuck Fawcett and Daren Ulmer, has announced an important development in the world of flying theatre technology with the publication of patent US2024/0082744A1 for its TruFlight Theater ride system. This innovative solution addresses longstanding challenges in the industry, paving the way for a new era of immersive entertainment experiences.
Flying theatres have captivated audiences for decades, offering a unique blend of motion and visual storytelling. However, existing technologies have faced limitations in terms of movement range, customisation, and overall flexibility.
That was the mandate that drove the development of the TruFlight Theater – to push the limits of technical innovation and enhance the art of storytelling.
“This system was designed from the ground up by media designers, for media-based storytellers," says Ulmer."Plus, we offer the first flat load with dynamic lift-off since the original Soarin’ attraction was introduced at Disneyland decades ago.”
An enhanced flying theatre experience
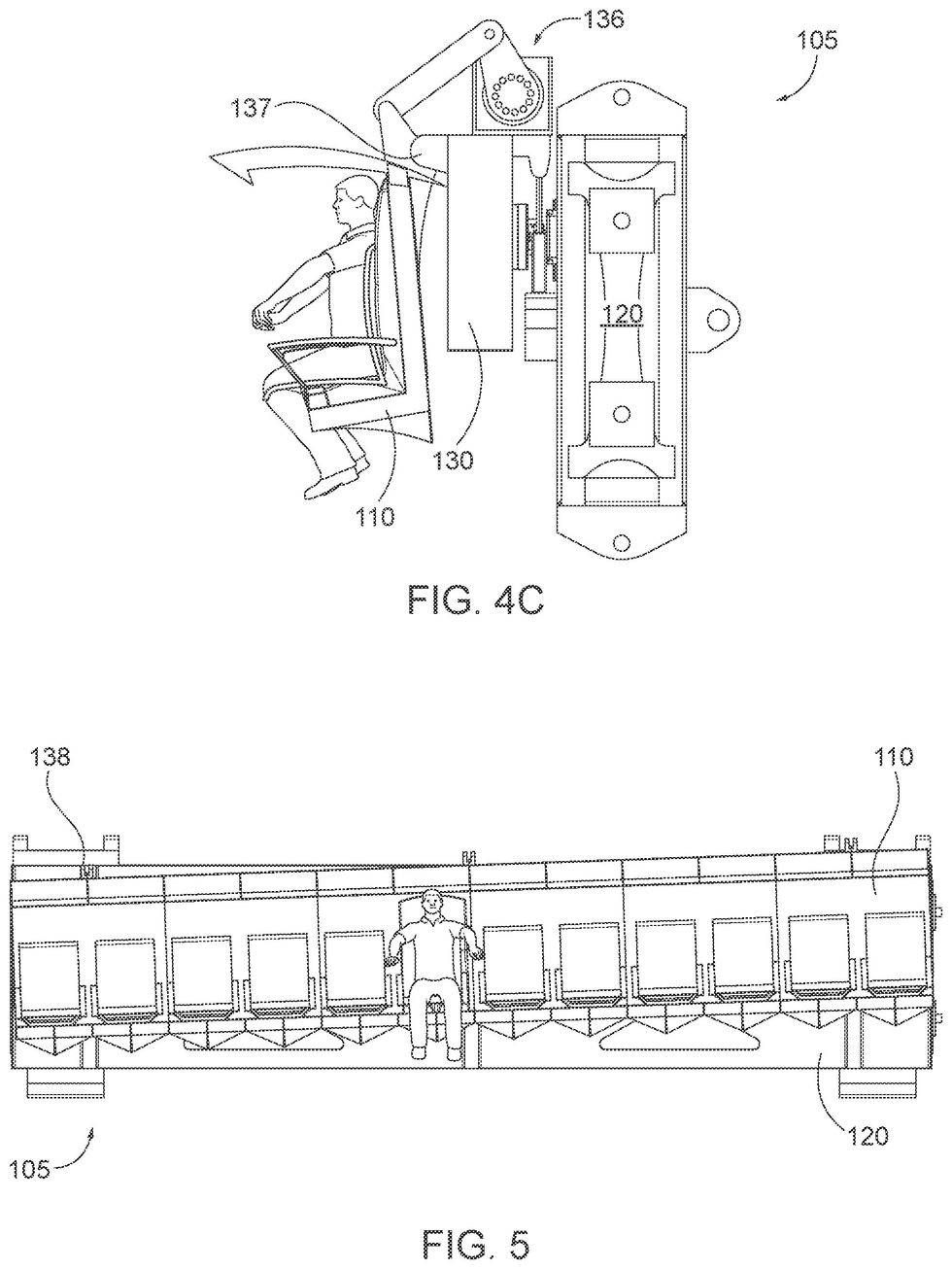
The TruFlight Theater offers the widest range of movement in its class, with a generous one-meter controlled rising and falling heave motion combined with a revolutionary dual-actuator-driven secondary heave motion. Combining these two motions creates flutter and turbulence effects, as well as graceful left-to-right tilting and banking for the ultimate free-flying experience. The unique dual rail design means a guest can experience the sensation of rising up or falling down into the starting screen position.
The system features a generous top-mounted pitch motion, providing the added sensation of swinging from above. This allows guests to experience the diving and swooping sensations of real flight, plus the versatility to smoothly transition from a heart-pounding adventure to a gentle, family-friendly journey. The theatre package includes onboard special effects, such as fog, mist, smells, seat vibration, and optional onboard audio to enhance the experience.
The potential applications for the TruFlight Theater are vast, ranging from theme parks and museums to virtual tourism and beyond. Each installation can be customized to meet the unique needs and vision of the partner, ensuring a one-of-a-kind attraction that stands out in a competitive market. The added advantage from this team is the addition of ride film design & production services it can offer through its sister company Mousetrappe Media.
With the patent pending, Medici XD is poised to transform the flying theatre landscape, and the company is actively seeking partners to bring its first project to life.
“The patent publication helps protect our intellectual property as well as promote the unique qualities of this system in the marketplace,” says Fawcett. “This is a rare opportunity for a theme park, entertainment venue or attraction to be first to market with an exciting and affordable new offering and we are keen to find a first location to launch.”
The publication of the TruFlight patent heralds a new era for flying theatre technology. By providing a tool that offers both creative freedom and technical excellence, Medici XD aims to inspire a new generation of attractions that push the boundaries of what's possible in flying theatre experiences while elevating the art of immersive storytelling.
Charlotte Coates is blooloop's editor. She is from Brighton, UK and previously worked as a librarian. She has a strong interest in arts, culture and information and graduated from the University of Sussex with a degree in English Literature. Charlotte can usually be found either with her head in a book or planning her next travel adventure.



























