Universal has filed an 'augmented ride system and method' patent to develop a ride and game control system with head-mounted displays, providing gaming effects that result in an interactive augmented reality (AR) experience.
The ride system, which develops ideas from earlier patents, includes a ride vehicle, a head-mounted display connected to the vehicle and worn by the passenger, and a ride and game control system integrated with the ride vehicle.Interactive AR ride
The ride and game control system features a user interface configured to receive inputs from the passenger, as well as a ride controller configured to control physical operation of the ride vehicle. The view and content can be adjusted depending on the passenger's position, movement and interactions to create an optimized experience.It also has a system to monitor the position of the head-mounted display and ride vehicle, as well as a computer graphics generation system configured to generate AR features for display on the headset. This is based on data received from the ride controller, monitoring system or user interface.
The patent details an enhanced experience for guests, with the ride and game control system potentially providing other entertainment experiences along the ride path.
To offer more personalised and immersive AR experiences, the system may also have an AR experience based on what a rider is viewing, or on their engagement in gameplay.
And, for example, the system may establish which real-life features the passenger is looking at, giving an AR experience according to their interest. It may also allow the rider to interact with AR features.
In addition, it could offer a real-time adaptive AR experience based on visitors' reactions or engagements.
"For example, presence and/or content of the AR features may be updated or changed in real-time based on how many passengers are looking, whether passengers appear to be enjoying the AR experience, whether passengers are engaging in an AR-based gameplay, and so forth," reads the patent.
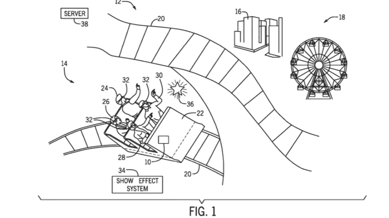
As for the images, figure 1 shows a ride system that provides AR experiences to passengers via head mounted displays, and figure 2 shows a ride and game control system.
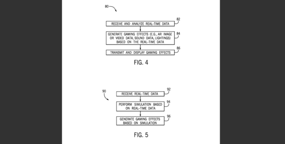
Figure 3 shows the head-mounted display, while figure 4 illustrates a process for creating an AR-enhanced immersive experience using the ride and game control system.
Figure 5 reveals a process for creating realistic AR experiences based on simulations, while figure 6 unveils an AR experience with "perspective adjustments" provided by the ride and game system.
In Figure 7, we see a method for dynamically adjusting ride perspective, and in figure 8, an AR experience with dynamic interactivity. Finally, Figure 9 shows multiple passengers sharing the same AR experience.
Super Nintendo World and Epic Universe
Universal has plenty of scope to use innovative new ride technologies, with Super Nintendo World and Epic Universe in development.It is not clear which IPs Universal may be looking at as applications for these. However, as visitors expect more gaming features on theme park rides, AR and technologies that allow more interactivity are certain to become increasingly important.































