Universal has filed a ‘water attraction dispatch system’ patent, which includes a water park attraction with a plurality of sensors and a dispatch controller.
The 'water attraction dispatch system' includes a water attraction "having a plurality of sensors and a dispatch controller".The dispatch controller is configured to receive "attraction condition data" from the plurality of sensors of the water attraction and "determine a dispatch status of the water attraction based on the attraction condition data".
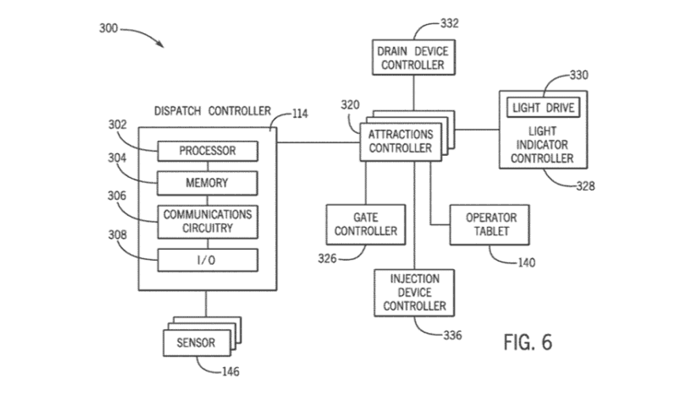
The above image is a schematic view of various dispatch devices of a water attraction using a water attraction dispatch system.
"The dispatch status may be a permit dispatch status or a deny dispatch status," the patent reads. "The dispatch controller is configured to transmit a signal indicative of the dispatch status to a controller of the water attraction."
The system comprises a water attraction, a plurality of sensors of the water attraction, and a dispatch controller comprising a processor and a memory.
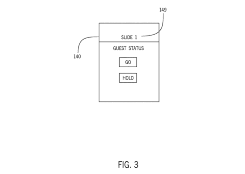
The image above is an example of a display including a permit dispatch indicator.
In the patent, Universal states that water parks have substantially grown in popularity, with operators adding new types of attractions.
"Thus, while the additional attractions allow for additional guests and higher throughput, the complexity of monitoring the various water conditions may also increase.
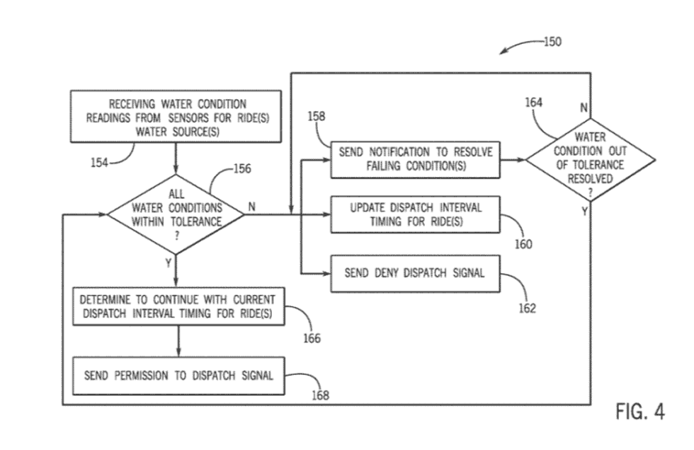
The above figure is a process flow diagram of a water attraction dispatch system sending a permit or deny dispatch signal.
"Such complex monitoring may further demand additional operator assistance to validate that water conditions are acceptable, resulting in potential delays for guest dispatch in the attraction."
The above figure is a process flow diagram of a technique for assessing dispatch conditions, while the below is a block diagram of a water attraction dispatch system.
Earlier this year, Universalfiled an ‘augmented ride system and method’ patent to develop a ride and game control system with head-mounted displays, providing gaming effects that result in an interactive augmented reality (AR) experience.





























