Disney has filed a patent for augmented reality (AR) or virtual reality (VR) rides that would offer a 3D virtual experience without VR headsets or AR-enabled devices.
The new technology would project a 3D virtual scene to guests on rides and attractions by tracking their eye positions, providing an immersive experience beyond VR and AR.
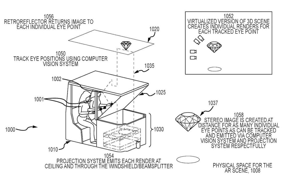
The patent describes a system "creating an autostereoscopic augmented reality (AR), virtual reality (VR), or other visual display experience involving 3D images, presented to a viewer without glasses or other head-gear".
Immersive experience beyond AR and VR
Published on 8 September 2022, the patent explains that the 'visual effect system' includes a projection screen with "a reflective surface formed using retroreflective material".
"The system includes a projection assembly and a beamsplitter, which is disposed between an outlet of the projection assembly and the projection screen," the patent says.
"The system includes a physical scenic space facing a lower side of the beamsplitter and a viewing space facing an upper side of the beamsplitter. A controller operates the projector assembly to project left and right eye images toward the projection screen.
"The left and right eye images are then directed to left and right eye positions so a viewer with eyes positioned at the left and right eye positions perceives a virtual object concurrently with light from the physical scenic space."
Projecting a 3D virtual scene
Earlier this year, Disneywas granted a patent for a ‘virtual-world simulator’ that would allow multiple visitors to experience a digital world within a real-world theme park without headsets, glasses or smart devices.
"What’s happening here is it’s actually being projected,"Founders Legal patent and technology technical adviser John DeStefano told Spectrum News.
"Rather than look through a phone screen or a headset, Disney developed a system almost similar to a movie projector to project on a real surface what humans see on a screen. It’s more real-world experience rather than looking at it through a phone."
Disneyhas also revealed plans to turn Disney+ into an “experiential lifestyle platform” that would let users enjoy the company’s theme parks “from a virtual standpoint”.
Images:US Patent and Trademark Office


























