
A new patent filed by the Walt Disney Co. suggests it could be looking to recreate the swinging movements of Spider-Man for a future attraction.
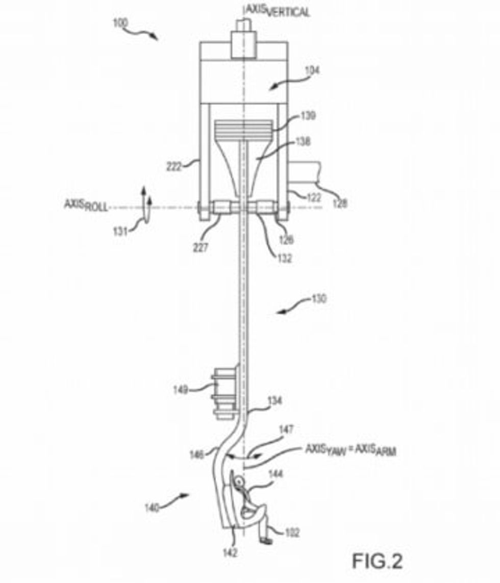
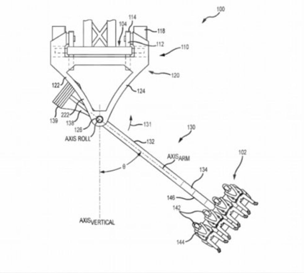
According to the Orlando Business Journal, the plans appear to combine 'a swinging pendulum ride mechanism attached to a moving track system that can take the riders through an environment'.
In keeping with Disney's usual practice the patent, entitled Track-based Swing Ride with Long Arm Pendulum, does not specifically name the ride's theme.
However, the company does cite the swinging motion of Tarzan and Spider-Man in the documents that accompany the plans.
The patent also states that the ride will combine the swinging sensation with 'forward travel along a ride path' and that the swinging sensation will 'feel thrilling and fun'.
If it is a Spider-Man ride, then the most likely location would be Disneyland in California. The company is understood to be barred from using main Marvel characters in Orlando. This is owing to a long-standing agreement between Marvel and Universal Orlando Resort.
Charles is co-founder and creative director at blooloop. He attends numerous trade shows around the world and frequently speaks about trends and social media for the attractions industry at conferences. Outside of blooloop, his passions are diving, trees and cricket.















