Disney's patent suggests that long queues can cause guest frustration and details "the psychological and physical toll that a prolonged wait can impose" on visitors (via WDW News Today ).
"As common experience will testify, waiting in line is at best tedious and, depending on the length of the wait and environmental conditions, may be physically uncomfortable," the patent says.
"Another drawback of physical queues is that they prevent a guest waiting in line from enjoying other attractions available in the same venue, which may further frustrate the waiting guests while also depriving other attractions of traffic and potential revenue.
"Depending on the length of the queue, a physical queue can also have unpleasant consequences for other users of the venue, for example, by congesting public spaces and restricting freedom of movement for non-queueing users of the venue," it adds.
Disney technology to replace long waits
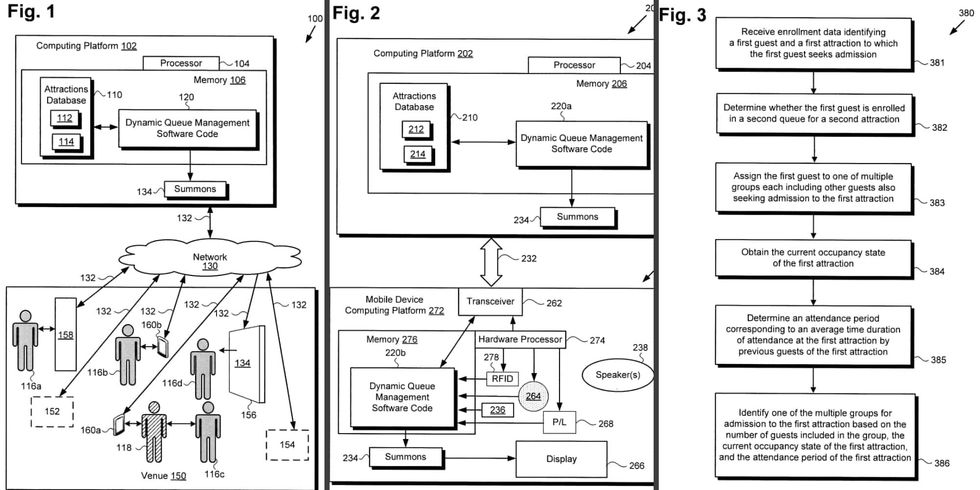
The dynamic virtual queue management system uses data from across the theme park to decide when the visitor can return to ride the attraction. The patent describes a visitor who has a virtual queue reservation for a second attraction.
The visitor wants to ride the first attraction before their return time, prompting the park's dynamic queue management system to use all available data to find a return time for the first attraction.
The virtual queue management system could support up to "millions of guests" at a theme park as it sends queue information to a computing platform.
The system is run by the computing platform, which can "summon" visitors to join the queue. This could be supported in the My Disney Experience mobile app.
After the visitor requests entry to the first attraction's queue, the system checks to see if they are waiting in a second attraction's queue. It also verifies eligibility to join a queue.
'Waiting in line is at best tedious,' says Disney
"Examples of eligibility criteria may include how many virtual queues a guest can be enrolled in concurrently, whether the guest or guests are authorized to be present in [the theme park], whether the guest or guests meet size or age requirements for admission to first attraction, and/or the physical proximity of the guest or guests to first attraction, to name a few.
"The eligibility checks described above serve to ensure that no individual or group obtains fraudulent or otherwise inappropriate admission to any attraction in [the theme park]."
The system assigns the guest to "one of multiple groups each including other guests also seeking admission to the first attraction". When the group is filled, the system looks for a time slot to accommodate the group and selects a return window.
The return window is quantified using average wait times of earlier guests, before the dynamic queue management system assigns the guests to the time and sends a notification.
Earlier this year, Universal filed a patent for a "dynamic quest-based experience system" to entertain and manage guests in a virtual queue.
Images: US Patent Application


























